Unterrichtsentwurf_Ch-Klasse8_Sauerstoffgehalt_der_Luft_Lehrerdemo
Unterrichtsentwurf / Lehrprobe Chemie, Klasse 8
Inhalt des Dokuments
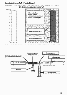
Unterrichtsstunde für die 8. Klasse zum Thema Sauerstoffgehalt der Luft. Unterrichtsbesuch mit positiver Rückmeldung. Lehrerdemoversuch- Sauerstoffbestimmung der Luft mit Kolbenproberaufbau und Eisenwolle.
14
Seiten
2x
geladen
149x
angesehen
Bewertung des Dokuments
387150
DokumentNr
Lehrerdemoversuch
methode
45 Minuten
Arbeitszeit
So funktioniert schulportal.de
Kostenlos
Das gesamte Angebot von schulportal.de ist
vollständig kostenfrei. Keine versteckten Kosten!
Anmelden
Sie haben noch keinen Account bei schulportal.de?
Zugang ausschließlich für Lehrkräfte
Mitmachen
Stellen Sie von Ihnen erstelltes Unterrichtsmaterial
zur Verfügung und laden Sie kostenlos
Unterrichtsmaterial herunter.


































